Anzahl Durchsuchen:0 Autor:Site Editor veröffentlichen Zeit: 2022-05-25 Herkunft:Powered
Scherkettendesign des Gummikotflügels vom Typ Cell
Wenn das Schiff am Kai anlegt, kollidieren die meisten Schiffe zunächst mit dem Kai in 1/3 und 1/4 Länge vom Bug oder Heck entfernt.Als Anti-Aufprall-Ausrüstung des Kais muss der Gummifender nicht nur die normale Aufprallkraft senkrecht zur Kaimauer, sondern auch die Tangentialkraft parallel zur Kaimauer tragen.Unter normalen Betriebsbedingungen kann der Gummifender vom Zelltyp der Tangentialkraft des Schiffes standhalten.Wenn jedoch die Scherverformung des Gummi-Fenderrohrs die festgelegten Anforderungen überschreitet, muss die Scherkette die Scherverformung des Gummi-Fenderrohrs verhindern.Daher spielt die Scherkette eine wichtige Rolle bei der Gewährleistung des normalen Betriebs und der angemessenen Leistung des Trommelfenders.
Die Konstruktionsmethode der Trommelgummi-Fender-Scherkette wird unten vorgestellt.
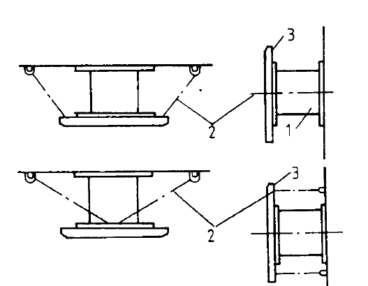
Die Scherkette wird im Allgemeinen auf beiden Seiten des Gummifenders angeordnet, wobei das eine Ende an der Anprallplatte und das andere Ende an der Kaimauer befestigt ist (Abbildung I).Die Scherkette nimmt im Allgemeinen eine gewöhnliche Kette an, ihre Spezifikation und Menge werden durch die Spezifikation des Gummikotflügels, die Anordnung des Gummikotflügels und die Größe der Anti-Aufprallplatte bestimmt.

Abbildung I
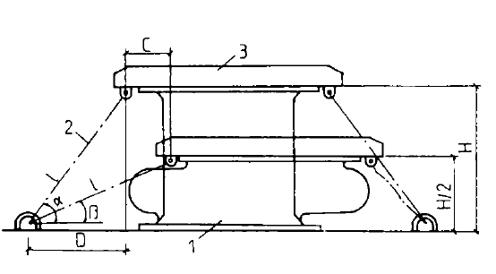
Das Konstruktionsprinzip der Scherkette besteht darin, sicherzustellen, dass die Scherverformung des Zellkautschukfenders die angegebenen Anforderungen unter den ungünstigsten Liegebedingungen nicht überschreitet.Es wird angenommen, dass die Konstruktionsverformungsrate des Trommelgummifenders 50 % beträgt und die zulässige Scherverformung C beträgt. Wie in Abbildung 2 gezeigt
C: Zulässige Scherverformung eines Gummifenders vom Trommeltyp;
D: Horizontale Projektion der Scherkette auf die Kaimauer des Gummifenders im Entladezustand;
H: Höhe des Trommel-Gummikotflügels.
Die Scherkette des Gummifenders vom Zelltyp muss horizontal auf beiden Seiten des Gummifenders angeordnet sein
Die Länge l errechnet sich nach der Formel.Ein Ende ist an der Anti-Aufprall-Platte befestigt, und das andere Ende ist an dem eingebetteten U-Ring befestigt